Регулирование напряжения в
электрических сетях.
Нормальным
режимом работы называется режим, при котором обеспечивается электроснабжение
всех потребителей и качество электрической энергии (качество частоты и качество
напряжения) в установленных ГОСТ 13109-97
пределах [1,2,3].
Непрерывное
изменение электрических нагрузок приводит к непрерывному изменению падений
напряжения в элементах электрической сети, следовательно, к непрерывному
изменению отклонений напряжения U от его номинального
значения. Нормально допустимые и предельно допустимые значения установившегося
отклонения напряжения
на выводах приемников электрической
энергии, регламентируемые ГОСТ 13109 – 97, равны соответственно ±5% и ±10%.
В
нормальном режиме работы электрической сети значения dU на
выводах приемников электрической энергии в течение суток не должны превышать
предельно допустимые значения. При аварийных нарушениях в электрической сети
допускается кратковременный выход значений dU за предельно допустимые значения с
последующим их восстановлением до значений, установленных для послеаварийного режима.
Учет
надежности при рассмотрении режима напряжений заключается в том, чтобы в любых
точках электрической сети не должны превышать или быть ниже определенного
допустимого значения.
Экономичность
режима напряжений электрической сети обусловлена величиной потерь активной
мощности и энергии в ее элементах (линиях и трансформаторах). Эти потери в продольных активных
сопротивлениях линий и трансформаторах обратно пропорциональны квадрату
напряжения. Поэтому повышение уровня напряжения является одним из основных
средств уменьшения потерь мощности и энергии в электрических сетях напряжением
до 220 кВ включительно.
Для
обеспечения требуемых технико-экономических показателей режимов работы
электрических сетей необходимо регулировать напряжение.
Основной
целью регулирования напряжения в местных распределительных сетях, является
поддержание отклонений напряжения в пределах, установленных ГОСТ.
Основной
целью регулирования напряжения в районных распределительных сетях является
обеспечение экономичного режима их работы за счет уменьшения потерь мощности и
энергии.
Основной
целью регулирования напряжения в системообразующих сетях является ограничение
внутренних перенапряжений для обеспечения надежной работы изоляции оборудования
таких сетей, предельное рабочее напряжение которых составляет 1,05Uном.
Регулирование
напряжения осуществляется с помощью специальных технических средств, называемых
регулирующими устройствами. Все эти регулирующие устройства условно можно
разделить на два типа: узловые и линейные. Узловые устройства изменяют режимные
параметры сети – напряжение и реактивную мощность в точке подключения к сети. К
ним относятся: генераторы электростанций, синхронные компенсаторы, батареи
конденсаторов, нерегулируемые и регулируемые реакторы и статические регулируемые
источники реактивной мощности.
Линейные
устройства изменяют схемные параметры сети – реактивное сопротивление,
коэффициенты трансформации. Это конденсаторные установки продольной
компенсации, трансформаторы, автотрансформаторы с устройствами регулирования
напряжения под нагрузкой РПН, специальные регулировочные трансформаторы.
12.1. Регулирование напряжения на электростанциях.
Основное
назначение генераторов электростанций – это выдача в электрическую сеть
заданного значения активной мощности. Кроме того, генераторы являются основными
источниками реактивной мощности и изменение напряжения на его выходе
осуществляется за счет регулирования тока возбуждения генератора. Напряжение на
выходе генератора изменяется в пределах (0,95…1,05)Uном.
Увеличение
регулировочного диапазона по напряжению, например до 1,1Uном
потребует увеличения тока возбуждения генератора и, следовательно,
увеличения выдаваемой генератором реактивной мощности. При номинальной загрузке
генератора полной мощностью и увеличении выдаваемой генератором реактивной
мощности его активную мощность необходимо снижать во избежание перегрузки
генератора. Последнее условие противоречит основному назначению генераторов –
выдавать заданную активную мощность.
Повышающие
трансформаторы на электростанциях или вообще не имеют регулировочного диапазона
по напряжению, или этот диапазон ограничен пределами ±2´2,5%Uном.
Реальные
потери напряжения в электрических сетях значительно больше диапазона
регулирования напряжения генераторами и повышающими трансформаторами
электростанций. Потери напряжения в линиях электропередачи зависят от их
протяженности, нагрузки и напряжения и могут достигать 10% в сети одного
напряжения. такой же порядок имеют потери напряжения при каждой трансформации.
От
электростанций до потребителей электроэнергия проходит 3….5 ступеней
трансформации напряжения.
Из
приведенных данных видно, что регулирования напряжения за счет генераторов и
трансформаторов электростанций явно недостаточно для покрытия потерь напряжения
в электрической сети. Поэтому генераторы и трансформаторы электростанций в
общем случае являются лишь вспомогательным средством регулирования напряжения в
электрической сети. Генераторы могут служить основным средством регулирования
напряжения лишь для потребителей, получающих питание непосредственно с шин
генераторного напряжения.
Для
регулирования напряжения в электрической сети используются трансформаторы и
автотрансформаторы подстанций электрической сети, снабженные устройствами
регулирования напряжения и другие средства.
12.2. Регулирование напряжения на подстанциях.
Одним
из основных средств регулирования напряжения в электрических сетях является
изменение коэффициентов трансформации трансформаторов (автотрансформаторов) на
подстанциях электрических сетей. Коэффициент трансформации определяется
отношением числа витков первичной w1 и
вторичной w2 обмоток трансформатора или отношением номинальных
первичного (высшего) Uвн и вторичного (низшего)
Uнн напряжений трансформатора при его холостом
ходе.
Трансформаторы
(автотрансформаторы) имеют специальные ответвления от обмоток, позволяющие изменять
коэффициент трансформации и, следовательно, регулировать напряжение.
Переключение ответвлений может осуществляться устройством переключения без
возбуждения (ПБВ) при отключении трансформатора
от сети или устройства регулирования под нагрузкой (РПН) без отключения
трансформатора от сети.
Для
регулирования напряжения используется также специальные регулировочные
трансформаторы, устанавливаемые на подстанциях.
Регулировочные
ответвления двух и трехобмоточных трансформаторов выполняют в обмотке высшего
напряжения со стороны нейтрали. Ток в обмотке высшего напряжения меньше, чем в
других обмотках, следовательно, условия работы РПН легче, его массогабаритные
показатели лучше.
Для
двухобмоточных трансформаторов регулируется коэффициент трансформации между
обмотками высшего и низшего напряжений kвн
между обмотками высшего и низшего напряжения и kвс
между обмотками высшего и среднего напряжения.
Регулировочные
ответвления автотрансформаторов выполняют со стороны нейтрали общей обмотки или
в линейном выводе обмотки среднего напряжения. В первом случае одновременно и
зависимо регулируются коэффициенты kвн
и kвс , во втором – регулируется только коэффициент
kвс.
Рассмотрим
основные принципы регулирования коэффициентов трансформации. С целью упрощения
трансформаторы и устройства регулирования будем рассматривать в однофазном
исполнении.

Рис.12.1. Схема замещения.
Напряжение
на шинах ВН подстанции будет отличаться от напряжения генераторов
электростанции U1
на величину потерь в линии DUc, а напряжение на шинах НН подстанции, приведенное к ВН UB2H, будет отличаться еще и на величину
потерь напряжения в сопротивлении трансформатора DUT:
![]()
Действительное
напряжение на шинах НН подстанций определяется как
![]()
где kT = Uотв/ Uн.ном - коэффициент трансформации
трансформатора; Uотв – напряжение регулировочного ответвления обмотки ВН; Uн.ном
- номинальное напряжение обмотки НН.
Меняя
коэффициент трансформации, можно изменять напряжение на стороне НН подстанции U2н.. Именно на этом принципе и работают
все средства регулирования напряжения на подстанциях.
По
условиям встречного регулирования:
![]()
где Vжелнб%
- желаемое отклонение напряжения в процентах номинального в режиме
наибольших нагрузок; Vжелнм%
- то же для режима наименьших нагрузок.
Соответственно:
![]()
Действительное
значение напряжения на стороне НН определяется по выражению (12.4).
Из
электрического расчета сети определяются UB2н.нб
- напряжение на стороне НН в режиме наибольших нагрузок, приведенное к
ВН; UB2н.нм - напряжение на стороне НН в
режиме наименьших нагрузок, приведенное к ВН. По значениям UB2н.нб и UB2н.нм
определяются желаемые ответвления регулируемой обмотки высшего
напряжения трансформатора в режимах наибольших и наименьших нагрузок:
![]()
Желаемые
ответвления, определенные по (12.7), округляются до ближайших стандартных значений.
Трансформаторы без регулирования под нагрузкой (ПБВ) в настоящее
время изготовляют с основным и четырьмя дополнительными ответвлениями. Схема
обмотки такого трансформатора приведена на рис. 12.2. Основное ответвление
имеет напряжение, равное номинальному напряжению первичной обмотки трансформатора
Uв.ном
равно номинальному напряжению сети Uном.с, к которой присоединяется данный
трансформатор (6,10,20 кВ). При основном ответвлении коэффициент трансформации
трансформатора называют номинальным. При использовании четырех дополнительных
ответвлений коэффициент трансформации отличается от номинального на +5; +2,5;
-2,5 и -5%. Вторичная обмотка трансформатора является центром питания сети,
подключенной к этой обмотке. Поэтому номинальное напряжение вторичной обмотки
трансформатора выше номинального напряжения сети: на 5% - для трансформаторов
небольшой мощности, на 10% - для остальных трансформаторов.

Рис.12.2. Схема обмоток трансформатора с ПБВ

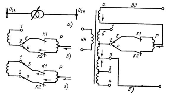
Рис.12.3. Трансформатор с РПН: а)
условное обозначение: б) схема
обмоток трансформатора с РПН; в), г) переключение ответвлений
Чтобы
переключить регулировочное ответвление в трансформаторе с ПБВ, требуется
отключить его от сети. Такие переключения производятся редко, при сезонном
изменении нагрузок. Поэтому в режиме наибольших и наименьших нагрузок в течении
суток трансформатор с ПБВ работает на одном регулировочном ответвлении и
соответственно с одним и тем же коэффициентом трансформации. При этом нельзя
осуществить требование встречного регулирования.
Трансформаторы с регулированием напряжения под нагрузкой, со встроенным устройством РПН
(рис.12.3, а) отличаются от
трансформатора с ПБВ наличием специального переключающего устройства, а также
увеличенным числом ступеней регулировочных ответвлений и диапазоном
регулирования. Например, для трансформаторов с номинальным напряжением
основного ответвления обмотки ВН, равным 115 кВ, предусматриваются диапазоны
регулирования +16% при 18 ступенях регулирования по 1,78% каждая.
На рис.
12.3, б изображена схема обмоток
трансформатора с РПН. Обмотка ВН этого трансформатора состоит из двух частей:
нерегулируемой (а) и регулируемой (б). На
регулируемой части имеется ряд ответвлений к неподвижным контактам 1,4.
Ответвления 1,2 соответствуют части витков, включенных согласно с витками
основной обмотки (направление тока указано на рис. 2.3,б стрелками). При
включении ответвлений 1,2 коэффициент трансформации трансформатора
увеличивается. Ответвления 3,4 соответствуют части витков, соединенных встречно
по отношению к виткам основной обмотки. Их включение уменьшает коэффициент
трансформации, так как компенсирует действие части витков основной обмотки.
Основным выводом обмотки ВН трансформатора является точка О. Число витков,
действующих согласно и встречно с витками основной обмотки, может быть
неодинаковым. На регулируемой части обмотки имеется переключающее устройство,
состоящее из подвижных контактов (в) и (г), контактов К1 и К2 и реактора Р.
Середина обмотки реактора соединена с нерегулируемой частью обмотки (а)
трансформатора. Нормально ток нагрузки обмотки ВН распределяется поровну между
половинами обмотки реактора. Поэтому магнитный поток мал и потеря напряжения в
реакторе также мала.
Допустим,
что требуется переключить устройство с ответвления 2 на ответвление 1. При этом
отключают контактор К1 (рис. 12.3,в), переводят подвижный контакт (в) на контакт ответвления 1 и
вновь включают контактор К1 (рис.12.3,г).
Таким образом, секция 1,2 обмотки оказывается замкнутой на обмотку реактора Р.
Значительная индуктивность реактора ограничивает уравнительный ток, который
возникает вследствие наличия напряжения на секции 1,2 обмотки. После этого
отключают контактор К2, переводят подвижный контактор К2.
С
помощью РПН можно менять ответвления и коэффициент трансформации под нагрузкой
в течение суток, выполняя таким образом требования встречного регулирования
Линейные регулировочные трансформаторы (ЛР) и последовательные
регулировочные трансформаторы применяются для регулирования напряжения в
отдельных линиях или в группе линий.

Рис.12.4. Линейный регулятор
а), б) –
способы включения; в) – схема
обмоток; г) – регулирование по
модулю; д) – регулирование напряжения
по фазе; е) – регулирование
напряжения по модулю и фазе.
Так,
они применяются при реконструкции уже существующих сетей, в которых используются трансформаторы без
регулировки под нагрузкой. В этом случае для регулирования напряжения на шинах
подстанции ЛР включаются последовательно с нерегулируемым трансформатором
(рис.12.4, а). Для регулирования
напряжения на отходящих линиях линейные регуляторы включаются непосредственно в
линии (рис.12.4, б).
Линейный
регулировочный трансформатор – статический электрический аппарат, который
состоит из последовательного 2 и питающего 1 трансформаторов (рис.12.4, в). Первичная обмотка питающего
трансформатора 3 может получать питание от фазы А или фаз В,С. Вторичная
обмотка 4 питающего трансформатора содержит такое же устройство переключения
контактов под нагрузкой 5, как и в РПН. Один конец первичной обмотки 6
последовательного трансформатора 6 подключен к средней точке вторичной обмотки
4 питающего трансформатора, другой – к переключающему устройству 5. Вторичная
обмотка 7 последовательного трансформатора соединена последовательно с обмоткой
ВН силового трансформатора, и добавочная ЭДС DЕ в обмотке 7 складывается с ЭДС в
обмотке ВН.
Линейные
регулировочные трансформаторы большой мощности изготовляются трехфазными,
мощностью 16-100 МВ×А
с РПН ±15%, на 6,6-38,5 кВ; последовательные регулировочные
трансформаторы – трехфазными мощностью 92 и 240 МВ×А
на 150 и 35 кВ.
Автотрансформаторы 220-330 кВ сейчас выпускаются с РПН, встроенным
на линейном конце обмотки среднего напряжения. С помощью РПН, встроенного на
линейном конце обмотки СН, можно изменять под нагрузкой коэффициент
трансформации между обмотками ВН –СН. Если требуется одновременно изменить под
нагрузкой коэффициент трансформации между обмотками ВН и НН, то необходимо
установить дополнительно линейный регулятор последовательно с обмоткой НН
автотрансформатора. С экономической точки зрения такое решение оказывается
более целесообразным, чем изготовление автотрансформаторов с двумя встроенными
устройствами РПН.
1.
Какие средства
используют для регулирования напряжения в системообразующих и питающих сетях?
2.
Как формируется
задача регулирования напряжения в системообразующей сети?
3.
Как записывается
обобщенное контурное уравнение?
4.
Как определяется
ЭДС, создаваемая в замкнутом контуре трансформаторами?
5.
Какие средства регулирования
напряжения используют в распределительных сетях?
1.
В чем заключается сущность регулирования
напряжения изменением потоков реактивной мощности?
2.
С помощью каких
средств можно изменять потоки реактивной мощности в электрической сети?
3.
По каким формулам
определяется мощность компенсирующего устройства, необходимая для изменения
напряжения до желаемого?
4.
Как учитывается зависимость реактивной
мощности батарей конденсаторов от подаваемого на нее напряжения при выборе ее
номинальной мощности для регулирования напряжения?
5.
Каковы нормально
допустимые и предельно допустимые значения отклонения напряжения на выводах
приемников электрической энергии?
6.
Каковы наибольшие и
наименьшие рабочие напряжения электрических сетей и чем они обусловлены?
7.
Дайте классификацию
устройств регулирования напряжения.
8.
Изобразите
принципиальную схему трансформатора с ПБВ и РПН.
9.
Поясните
последовательность работы РПН.
10.
В какой обмотке
трансформатора устанавливается РПН?
11.
Как выбирается
требуемое регулировочное ответвление?
12.
Что такое
централизованное регулирование напряжения?
13.
Сформулируйте
требования к уровню напряжения в ЦП 6-20 кв в режиме наибольшей и наименьшей
нагрузки.
14.
Какие средства
местного регулирования напряжения применяются в распределительных сетях 6-20
кВ?
15.
Сформулируйте основную
цель регулирования напряжения в распределительных сетях 110-220 кВ.
16.
Какая основная
задача решается при регулировании напряжения в системообразующих сетях?